dnes je 31.1.2026

Input:

Hnětací stroje

6.4.2015, , Zdroj: Verlag Dashöfer

6.2.3 Hnětací stroje

Ing. Miloš Sova, CSc.

Význam hnětacích strojů

Mezi hnětací stroje zařazujeme stroje, které jsou nejen schopné smísit plasty s přísadami, ale především působením intenzivního smykového namáhání mohou převést makromolekulární látku do plastického stavu a dosáhnout rozptýlení komponent do mikrorozměrů. Z toho vyplývá, že hnětací stroje musí mít robustní konstrukci, aby byly schopné splnit vysoké požadavky na ně kladené.

Diskontinuální a kontinuální hnětací stroje

Hnětací stroje podle způsobu práce můžeme rozdělit na diskontinuální a kontinuální. Každý z těchto způsobů má své výhody a nevýhody. Diskontinuální způsob hnětení je pokládán za pružnější při změně dávkování materiálů. Při tomto způsobu však může z různých důvodů kolísat kvalita produktu v jednotlivých dávkách. Kontinuální systémy většinou poskytují stejnoměrnější produkt, musí však být vybaveny přesným dávkovacím a plnicím zařízením.

Diskontinuální hnětací stroje

Míchací dvouválce

Míchací dvouválce svou konstrukcí neodpovídají běžné představě o hnětacích strojích. Protože se však používají k hnětení (plastikaci) právě tak jako hnětiče, byly zařazeny do této kapitoly. Tyto stroje přes své některé nevýhody (obtížnou a nebezpečnou manuální práci, komplikovanou automatizaci) stále patří k vybavení řady plastikářských závodů a rovněž v laboratořích jsou nepostradatelné.

Výhody a nevýhody

Výhodou dvouválců je, že velká plocha válců, kde polymer není smykově namáhán, umožňuje temperaci hmoty a zabraňuje jejímu přehřátí. Tato přednost je ovšem kompenzována dlouhými míchacími časy a namáhavou obsluhou, přičemž kvalita zamíchané směsi závisí na způsobu práce obsluhy.

Děje v materiálu na dvouválci

Při hnětení na dvouválci se kolem předního válce vytvoří souvislá vrstva plastického materiálu a přebytek hnětené směsi se shromažďuje v roličce (návalku) nad štěrbinou mezi válci. Povrch vrstvy má menší obvodovou rychlost než povrch zadního válce a vlivem rychlostního rozdílu tak dochází k hnětení.

Skluz

Poměr obvodových rychlostí povrchu válců se nazývá skluz a bývá nejčastěji 1,0:1,1 až 1,0:1,3.

Intenzita hnětení

Hnětení materiálu je tím intenzivnější, čím větší je rozdíl obvodových rychlostí a čím menší štěrbina mezi válci. Se zmenšující se štěrbinou mezi válci vzrůstá i tlak mezi nimi. Materiál nashromážděný v roličce je také promícháván, ale intenzita míchání je vzhledem k menším smykovým silám nižší. Tomu nasvědčují i tlakové poměry nad štěrbinou a ve štěrbině mezi válci.

Závislost tlaku mezi válci P na šířce štěrbiny h :

Tlakové poměry mezi válci vzhledem ke vzdálenosti od středu štěrbiny:

Velikost štěrbiny mezi válci, a tím i intenzita hnětení, je měněna posuvem ložiskových skříní předního válce pomocí šroubů. Pod čelem šroubu je zároveň umístěna tlaková pojistka, která chrání válce před poškozením při přetížení.

Bezpečnost práce na dvouválci

Dvouválce musí být vybaveny spolehlivým bezpečnostním zařízením, které v případě nutnosti okamžitě zastaví stroj. Je ovládáno tyčemi umístěnými tak, aby na ně obsluha mohla snadno dosáhnout. Bezpečnostní zařízení většinou vypíná motor stroje a uvádí v činnost brzdy. Dvouválce jsou charakterizovány rozměry válců, a to průměrem a délkou pracovní části.

Hnětiče

Hnětiče

Malá výkonnost, namáhavá práce a některé další nedostatky dvouválců vedly k navržení a výrobě speciálních hnětacích strojů - hnětičů. Uplatňují se při míchání jak kaučukových směsí, tak i směsí z plastů.

Výhody hnětičů

Výhodami hnětičů ve srovnání s dvouválci jsou větší hodinová výkonnost, menší potřeba pracovních sil, menší spotřeba energie na 1 kg míchané směsi. Hnětiče umožňují lepší homogenitu směsí i její větší reprodukovatelnost. To je zdůvodněno zmenšením individuálního vlivu obsluhujícího pracovníka na míchací proces. Práce na hnětiči je fyzicky méně náročná a díky tomu, že míchání probíhá v uzavřené komoře, pracuje obsluha v bezprašném prostředí. Hnětiče zaujímají ve srovnání s dvouválci o stejné výkonnosti menší prostor.

Dělení hnětičů

Dnes vyráběné diskontinuální hnětiče se podle konstrukce a pracovního způsobu dělí do dvou skupin:

- stroje, jejichž hnětadla do sebe nezasahují a pracují s různou obvodovou rychlostí,

- stroje, jejichž válcová hnětadla do sebe zasahují a mají stejnou obvodovou rychlost

Tlakové hnětiče

Všechny uvedené hnětiče jsou tlakové, to znamená, že pro zvětšení hnětací účinnosti je materiál vtlačován přítlačným klínem mezi hnětací rotory. Kromě toho jsou stavěny hnětiče beztlakové, tj. takové, u nichž je materiál vtahován do hnětací komory pouze účinkem hnětadel. Nejrozšířenější typ diskontinuálního tlakového hnětiče je uveden na obrázku.

Činnost hnětiče

Hnětadla do sebe nezasahují, otáčejí se proti sobě různou obvodovou rychlostí. Hnětací komora má v řezu tvar ležaté osmičky. Masivní hnětadla mají příčný řez ve tvaru kapky, přičemž jejich hřbet má tvar přerušené šroubovice.

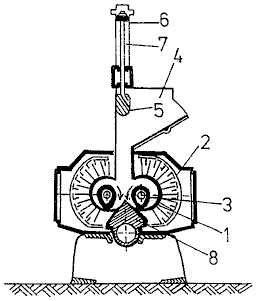
Schéma tlakového hnětiče:

1 - hnětací komora, 2 - chlazení ostřikováním vody, 3 - hnětadla (rotory), 4 - plnicí násypka, 5 - horní přítlačný klín, 6- ovládací píst přítlačného klínu, 7 - pneumatický válec,

8 - spodní vypouštěcí klín

Plášť komory a hnětadla jsou duté, aby je bylo možno vyhřívat nebo chladit. Zpracovávaný materiál je vkládán do hnětiče vertikální šachtou umístěnou nad hnětací komorou. V šachtě se pohybuje klín ovládaný stlačeným vzduchem, který vtlačuje hnětený materiál mezi hnětadla. Vyprazdňování hnětiče se uskutečňuje otvorem ve spodní části hnětací komory. Vypouštěcí otvor je uzavírán axiálně výsuvným spodním klínem, popř. odklápěcím uzávěrem.

Odklápěcí spodní uzávěr hnětiče:

A - uzávěr, B - tělo komory hnětiče, C - hnětadla

V hnětiči dochází ke hnětení tak, že hnětadla zachycují materiál a hřbetem jej roztírají o stěny komory. Šroubovitý hřbet hnětadel umožňuje axiální přesun materiálu (extenzivní míchání).

Moderní hnětiče umožňují účinné řízení teploty směsi, což dovoluje i přidávání vulkanizačních či síťovacích činidel a nadouvadel do směsi. Doba jednoho hnětacího cyklu bývá velmi krátká, 2 až 3 min.

Odstranění nedostatku hnětiče

Nedostatek hnětičů, tj. obtížná zpracovatelnost nárazově

Nahrávám...
Nahrávám...